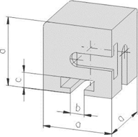
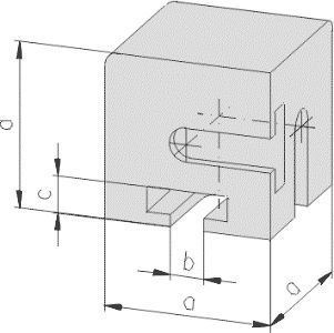
Hoekstuk voor de afwerken van de hoeken van frames.
Geschikt voor profielen met een afmeting van 20x20.
Voor de juiste afmetingen van de hoekstukken kunt u deze tabel raadplegen.

Product specificaties
| Attribuut naam |
Attribuut waarde |
|
Montagegroef
|
H = (20x20 - 20x40) |
|
Gewicht
|
128.0 g |
|
Materiaal
|
Aluminium |
|
Afmeting
|
20x20x20 |